Paten “Anti Palworld” – Persidangan Nintendo dan Palworld belakangan ini hening. Dan sepertinya keheningan tersebut akan segera berakhir. Nintendo kini telah mengamankan Paten terbaru yang telah aktif di Amerika Serikat.
Perkembangan terbaru ini mengindikasikan bahwa persidangan antara Pocket Pair selaku pengembang Palworld dan Nintendo bisa jadi akan berjalan diluar Jepang. Apakah akan terjadi?
Paten “Anti Palworld” Terbaru Bisa Menangkan Nintendo?

Sebelumnya pada bulan September lalu, The Pokemon Company dan Nintendo melaporkan gugatan gabungan terhadap Pocket Pair yang menuduh perusahan tersebut menyalahi beberapa aspek IP mereka.
Gugatan ini sempat dibawa ke pengadilan distrik Tokyo dan hanya berlaku di Jepang saja. Meskipun begitu, perusahaan asal Jepang ini juga mendaftarkan beberapa paten yang dibawa ke persidangan tersebut di Amerika Serikat.
Dan kini, kantor Paten dan Merek Dagang Amerika Serikat telah menerima salah satu paten ini. Dilansir dari laporan Games Fray, Paten dengan nomor 12220638 telah dipublikasikan pada tanggal 11 Februari kemarin.

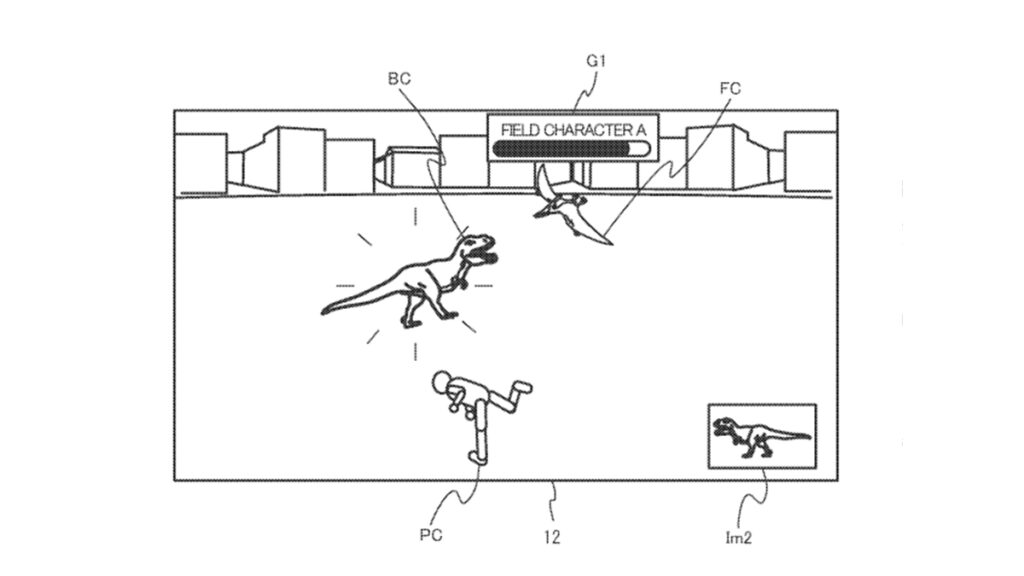
Paten ini dideskripsikan sebagai sistem gameplay untuk menangkap makhluk hidup. Dan menariknya, paten ini cukup mirip secara konsep dengan paten 12179111 milik perusahaan ini yang juga telah dipublikasikan pada akhir tahun 2024.
Dan tentu 2 paten ini menjadi senjata yang akan digunakan dalam gugatan Palworld nanti. Tidak aneh jika banyak yang menganggap 2 paten tersebut merupakan paten yang “Anti Palworld”.
Dengan adanya 2 paten tersebut, Nintendo dan The Pokemon Company bisa jadi akan melakukan gugatan terhadap Pocket Pair diluar Jepang. Namun masih belum ada laporan terkait adanya gugatan di Amerika Serikat untuk saat ini.
2 Paten Mirip, Tetapi Berbeda

Meskipun Memiliki 2 Paten yang serupa, namun terdapat perbedaan yang cukup menarik dari paten-paten ini. Perbedaannya terletak dari penggunaan kata yang nantinya menjadi lebih ketat lagi.
Paten terbaru ini mengubah kata “karakter lapangan” di paten sebelumnya menjadi “karakter virtual”. Analis dari Situs Games Fray yaitu Florian Mueller mencatat bahwa Pocket Pair bisa saja berargumen bahwa mekanisme penangkapan monster game mereka tidak masuk dari paten yang pertama sehingga perusahaan membuat paten terbaru dengan tujuan agar argumen tersebut tidak terjadi.
Namun dibalik semua itu, terdapat paten yang ditolek oleh kantor Paten di Amerika Serikat. Salah satunya adalah paten 18652883 yang mendeskripsikan sistem untuk menukar makhluk virtual yang dapat ditunggangi dan bisa terbang saat pemain mengendarainya.
Kantor Paten Amerika Serikat mengatakan bahwa paten ini bisa diterima jika didaftarkan secara independen dan terpisah. Dan hal ini membuat pengacara Nintendo mengirimkan permohonan interview dengan pemeriksa paten untuk berargumen agar klaim mereka diterima.
Hingga saat berita ini diangkat, Nintendo, The Pokemon Company, maupun Pocket Pair belum memberikan pernyataan terkait paten yang telah didaftarkan ini. Gugatan di Amerika Serikat pun juga sepertinya belum dilaporkan.
Baca juga informasi menarik Gamebrott lainnya terkait Berita atau artikel lainnya dari Javier Ferdano. For further information and other inquiries, you can contact us via author@gamebrott.com

















