Sony beberapa tahun terakhir ini mematenkan teknologi-teknologi yang akan mereka gunakan kedepannya mulai dari sistem NPC, merekam reaksi pemain, dan berbagai teknologi unik lainnya.
Dan kini, Sony patenkan teknologi baru yang merupakan teknologi AI yang dapat memainkan game pengguna. Lalu, apakah ini membuat pemain tidak perlu memainkan game mereka?
Sony Patenkan Teknologi AI yang Mainkan Game Pengguna?

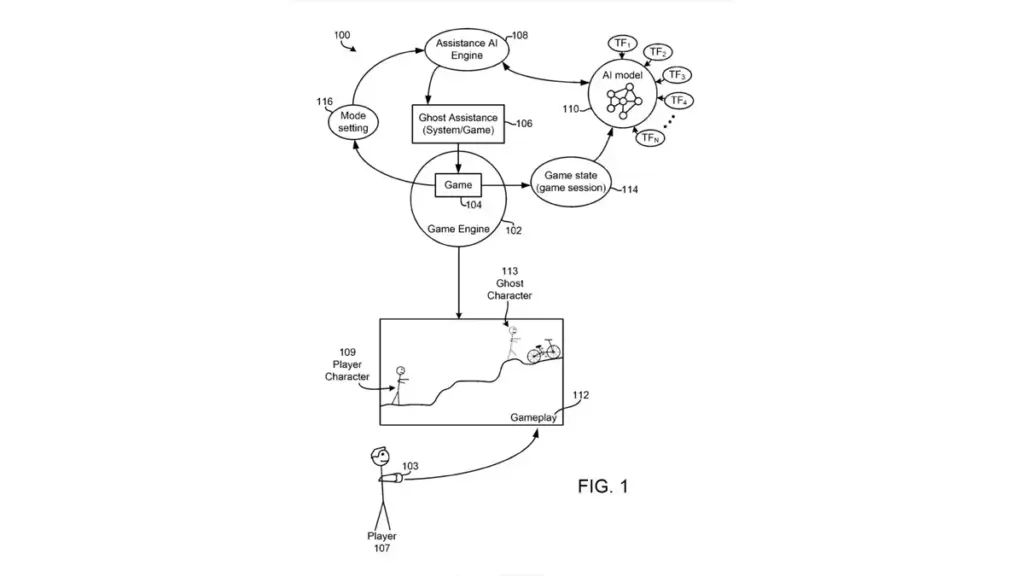
Dilansir dari laporan VGC, diketahui Sony telah mematenkan teknologi AI baru dengan nama Ghost Player. Teknologi ini akan membuat sebuah game yang dimiliki pengguna dapat dimainkan oleh AI.
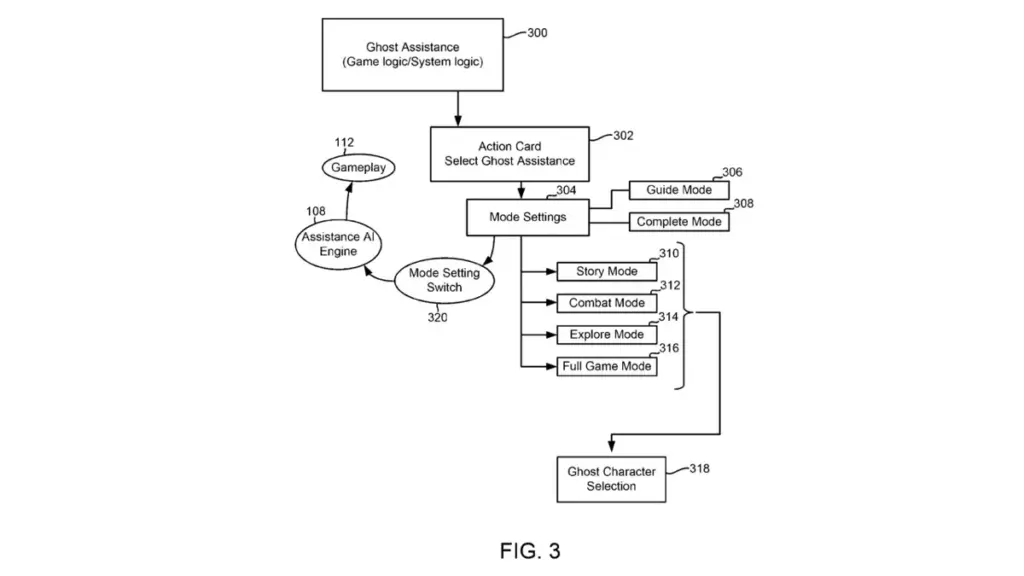
Pemain AI ini nantinya akan mengarahkan pemain atau memainkan game saat pemain kebingungan atau bahkan bisa menamatkan game untuk mereka. Dan teknologi ini memiliki 2 mode.

Mode pertama adalah Guide Mode yang merupakan mode dimana pemain akan ditunjukkan cara menyelesaikan suatu level oleh karakter AI. Mode ini kurang lebih seperti Walkthrough dengan AI.
Mode selanjutnya adalah Complete Mode. Sesuai dengan namanya, mode ini akan membuat karakter yang dikendalikan oleh AI dapat menyelesaikan seluruh permainan untuk para pengguna.
Teknologi Dilatih Menggunakan Footage Gameplay

Teknologi AI Ghost Player ini dilatih menggunakan video gameplay yang telah ada di internet dan tidak akan membuat developer menghadirkan karakter yang telah direkam untuk memainkan game.
Memang, perusahaan ini sendiri memiliki banyak fitur pembantu mulai dari hint, hingga video walkthrough yang dapat mengarahkan pemain yang kebingungan untuk menyelesaikan permainan mereka.
Meskipun begitu, teknologi ini baru didaftarkan dan tentunya tidak akan langsung hadir. Bahkan, bisa saja teknologi AI ini tidak dirilis sama sekali oleh Sony. Namun setidaknya, kini kita tahu bahwa Sony telah memiliki ide menggunakan teknologi AI untuk mempermudah permainan.
Baca juga informasi menarik Gamebrott lainnya terkait Berita atau artikel lainnya dari Javier Ferdano. For further information and other inquiries, you can contact us via author@gamebrott.com

















